एप्पलको ईलेक्ट्रिक कारमा हुनेछ यस्तो प्रविधि, पायो प्याटेन्ट अनुमति

  • Technology Khabar | २३ माघ २०७८, आईतवार
एप्पलको ईलेक्ट्रिक कारमा हुनेछ यस्तो प्रविधि, पायो प्याटेन्ट अनुमति

काठमाडौं ।

एप्पल कार कम्पनीको सबैभन्दा महत्वाकांक्षी परियोजनाहरू मध्ये एक हो। जबदेखि प्रविधी उद्योगमा एप्पलले सेल्फ ड्राइभिङ ईलेक्ट्रिक कारमा पनि काम गरिरहेको छ भन्ने समाचार आयो त्यसबेला देखि नै सबैले यसको बारेमा जान्न चाहन्छन्। यद्यपि, एप्पलले एप्पल कारको बारेमा कुनै पुष्टि गरेको छैन।

हाल प्रोजेक्ट टाइटन नामबाट कम्पनीको उत्पादन तयार भइरहेको रिपोर्टहरुमा उल्लेख छ। यो एप्पलको ईलेक्ट्रिक कार हुने विश्वास गरिएको छ। अब एप्पल कारसँग सम्बन्धित अर्को खबर पनि आएको छ । यो प्याटेन्टसँग सम्बन्धित छ, जुन विगतमा एप्पलले दायर गरेको थियो र सो प्याटेन्ट स्वीकृत भएको छ।

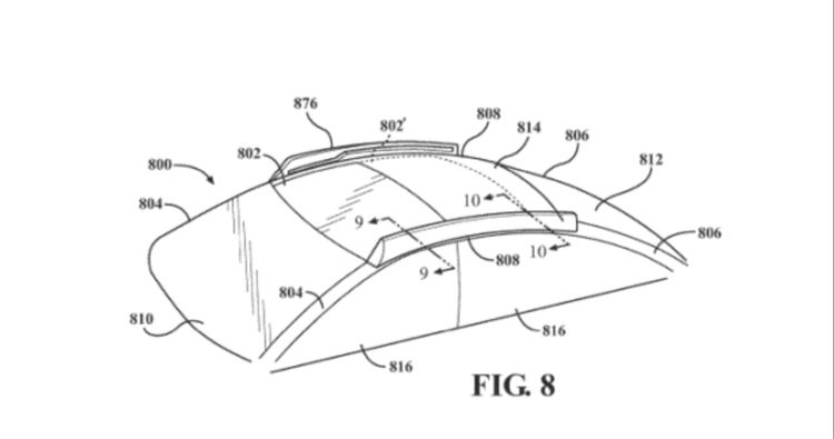
हटकार्स डटकमको रिपोर्टअनुसार अमेरिकी प्याटेन्ट एण्ड ट्रेडमार्क अफिसले एप्पललाई नयाँ प्याटेन्ट प्रदान गरेको छ। कम्पनीको आगामी इलेक्ट्रिक कारका लागि यो सनरुफ प्रविधि हुने विश्वास गरिएको छ। यो टेक्नोलोजी कारमा प्रयोग हुनेछ भनेर अझै पुष्टि गरिएको छैन, तर यो सत्य मान्नुपर्छ। यसको कारण यो हो कि आईफोन, आईप्याड वा म्याकमा सनरूप टेक्नोलोजी प्रयोग हुँदैन। यसलाई कारमा नै प्रयोग गरिन्छ।

कागजातमा कारको छत जस्तै तस्बीर पनि देखिन्छ। केही अन्य रेखाचित्रहरूले पनि सनरुफ देखाउँछन्। यसको मेकानिजम केहि तस्विरहरुमा बताईएको छ।

प्याटेन्ट आवेदनको उद्देश्य भनेको यो कारको लागि नै दायर गरिएको हो। प्याटेन्टले एक ग्लास पनि देखाउँछ, जसअनुसार प्रयोगकर्ताले कारको छतको पारदर्शितालाई आफ्नो चाहनाअनुसार समायोजन गर्न सक्छ।

हालै एक रिपोर्टले एप्पलको कार सन् २०२५ सम्ममा वास्तविकतामा परिणत हुने दाबी गरेको छ। ब्लूमबर्ग रिपोर्टमा स्रोतहरूलाई उद्धृत गर्दै बताईएअनुसार एप्पलको आगामी कार एक इलेक्ट्रिक भेहिकल हुनेछ, जुन पूर्ण रूपमा अटोनोमस सेल्फ-ड्राइभिङ सुविधाले सुसज्जित हुनेछ। यो सन् २०२५ मा डेब्यु हुनेछ। रिपोर्टमा केभिन लिन्चले एप्पल कार प्रोजेक्टको नेतृत्व गरिरहेको र यसको नाम प्रोजेक्ट टाइटन रहेको बताइएको छ। यो कारमा  पेडल र स्टेयरिङ दुबै नहुने दाबी गरिएको छ । यसरी यो पूर्ण रूपमा स्वचालित सेल्फ ड्राइभिङ कार हुनेछ।

प्रकाशित: २३ माघ २०७८, आईतवार

तपाइको प्रतिक्रिया
Loading comments...

ताजा समाचार